

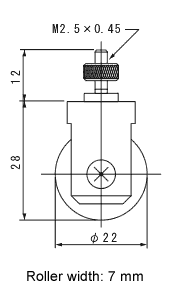
When the roller measurement tip such as the AA-827 or 828 is mounted to a gauge sensor with the unit of 1/1000 mm, the normal accuracy may not be obtained.
The AA-827 and 828 are used bearing, so around 10 µm errors may occur to the accuracy by the vibration.
| AA-827 | AA-828 |
|---|---|
![]() |
![]() |
Revised:2001.01.12